Nem elétrica, nem a gasolina; a Kawasaki criou uma invenção japonesa de cinco cilindros que pode ser o futuro das motocicletas

A Kawasaki está propondo soluções inovadoras, como a integração da bomba de combustível dentro do próprio motor

Imagens | Kawasaki
Sem comentários Facebook Twitter Flipboard E-mail
fabricio-mainenti

Fabrício Mainenti

Redator

A Kawasaki não desistiu do hidrogênio. A empresa já possui diversas patentes (e um protótipo que foi testado em pista, diante do mundo todo, demonstrando as "maravilhas" de sua invenção) para sua motocicleta a hidrogênio, que pretende ser a alternativa à gasolina e à eletricidade. E agora, um novo capítulo se inicia.

Como a Kawasaki pretende tornar sua motocicleta a hidrogênio prática, acessível e fácil de usar? Bem, a empresa japonesa agora quer tornar o hidrogênio líquido para que possa, de fato, ser incorporado a uma motocicleta.

A Kawasaki está tentando colocar hidrogênio líquido em uma motocicleta sem que ela pareça um tanque

A empresa sediada em Akashi continua a explorar motores de combustão interna a hidrogênio, mas o maior problema é o tamanho e a praticidade dos tanques. Em outras palavras, no papel, o hidrogênio tem uma clara vantagem: em termos de massa, é extremamente energético, mas em uma motocicleta, isso importa menos do que parece. O verdadeiro gargalo é o volume.

Mesmo comprimido a pressões extremamente altas (digamos, 700 bar), o hidrogênio não ocupa significativamente mais espaço do que a gasolina para atingir a mesma autonomia. Em outras palavras, para igualar a capacidade de combustível de uma motocicleta a gasolina convencional, seria necessário um tanque de hidrogênio várias vezes maior.

A solução "amigável" japonesa foi montar dois tanques nas laterais da motocicleta. De certa forma, eles se assemelhavam a malas de viagem como as que se acoplam a qualquer moto adventure, mas em seu interior havia dois tanques de cada lado, quatro no total, onde o hidrogênio era armazenado. O problema é que eles são grandes, volumosos, pesados ​​e, por enquanto, inúteis em termos de autonomia.

Imagens | Kawasaki

O Japão não desiste

Assim, a nova patente explora uma mudança na física: alterar o estado do combustível e, em vez de usar hidrogênio comprimido, usar hidrogênio líquido, que não é a mesma coisa.

Isso permitiria um aumento na densidade de energia por volume e uma redução no tamanho necessário do tanque; dois dos maiores problemas da motocicleta. O problema agora, então, é outro: a temperatura.

Imagens | Kawasaki

O problema é que, para manter o hidrogênio em estado líquido, ele precisa ser submetido a condições criogênicas extremas (abaixo de -250 °C), o que exige o uso de tanques altamente isolados com formatos específicos para minimizar a perda de calor.

Portanto, outro problema, outra solução tipicamente Kawasaki. Os projetos mais recentes patenteados pela marca japonesa abordam outra fragilidade do hidrogênio líquido: a pressão de alimentação. Enquanto o hidrogênio comprimido jorra do tanque espontaneamente, o hidrogênio líquido requer outros sistemas para atingir a mesma pressão.

Imagens | Kawasaki

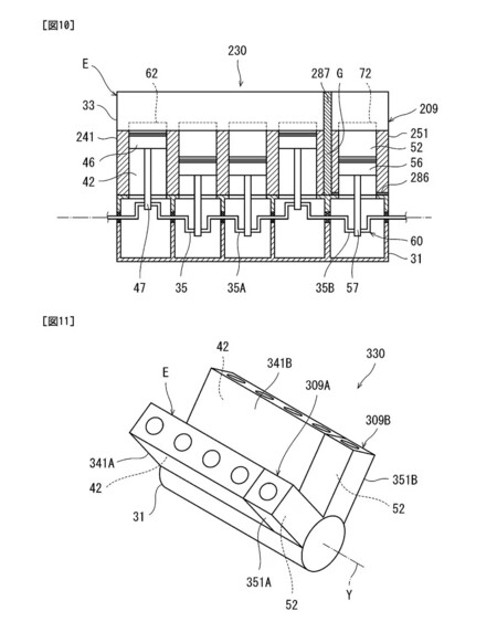
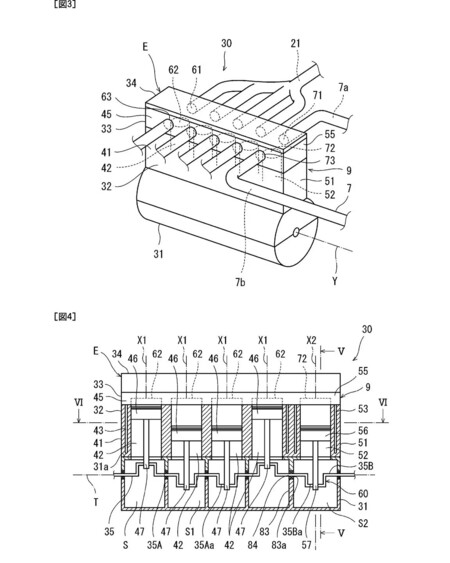
E é exatamente aí que entra a engenhosidade japonesa: eles criaram um sistema de bombeamento duplo, no qual uma das bombas não é um componente externo, mas está integrada diretamente ao próprio motor, como se fosse um cilindro adicional.

Assim, os diagramas da patente mostram um motor de cinco cilindros em linha, que na verdade é um motor de quatro cilindros com um cilindro extra dedicado exclusivamente à pressurização do combustível. Eles chegaram a considerar variantes mais complexas, como configurações em V com múltiplos cilindros atuando como bombas.

O Japão continua sendo líder em engenharia, e provou isso mais uma vez. Se este projeto for bem-sucedido — e o interesse é evidente — poderá nos dar uma motocicleta que será a chave para dizer adeus aos motores de combustão interna, alimentando um motor de combustão tradicional com emissões praticamente zero, já que o resultado é essencialmente vapor de água.

Mas não comemorem ainda, porque os problemas não desapareceram. Do armazenamento à evaporação do próprio combustível, a Kawasaki ainda tem muito a resolver.

Imagens | Kawasaki

Inicio