A BMW teve a ideia mais maluca de sua história: uma motocicleta carenada como uma cápsula e com oito rodas para evitar quedas

A BMW está estudando uma motocicleta totalmente carenada, em formato de gota, para maximizar a eficiência e a autonomia (ou pelo menos é o que pensamos)

Imagens | BMW, The Motorcycle Safety Exchange
Sem comentários Facebook Twitter Flipboard E-mail
fabricio-mainenti

Fabrício Mainenti

Redator

A BMW gosta de se envolver em coisas incomuns; em invenções e experimentos estranhos. Eles já fizeram isso há muitos anos com a C1, a motocicleta com carenagem. Seu experimento mais recente parece tudo, menos uma motocicleta convencional, mas há uma patente; e sim, é uma criação da BMW.

A empresa sediada em Munique está mais uma vez se aventurando no mundo das motocicletas totalmente carenadas, fechadas como uma cápsula e projetadas com uma única obsessão: eficiência aerodinâmica. Eles não estão apenas revivendo uma ideia antiga, mas levando-a a um extremo bastante peculiar. Preste atenção.

Uma cápsula com uma solução radical para o maior problema das motocicletas fechadas

A base, o objetivo do conceito, é bastante simples: reduzir a resistência do ar ao mínimo absoluto (enfatizamos, ao mínimo absoluto). Para alcançar isso, os alemães propõem uma carroceria totalmente fechada em formato de gota, um dos designs mais aerodinamicamente eficientes disponíveis.

Na verdade, eles não reinventaram a roda, nem fizeram nada de novo. Já houve algumas tentativas sérias antes. O exemplo mais conhecido é o Peraves Monoracer, uma espécie de cápsula sobre duas rodas capaz de ultrapassar os 250 km/h, cujo segredo residia na sua baixíssima resistência ao ar.

Assim, a BMW parte desta ideia com base em três pilares: menos resistência do ar, menor consumo de combustível e maior autonomia.

Imagens | BMW, The Motorcycle Safety Exchange

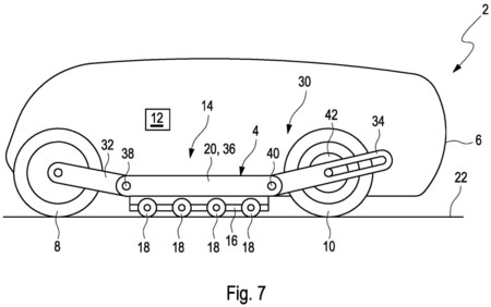
Contudo, antes de prosseguir, uma motocicleta fechada apresenta uma desvantagem extremamente básica, até mesmo óbvia: simplesmente não é possível apoiar os pés no chão. E, claro, com algo sobre duas rodas, isso geralmente acaba mal. Além disso, a BMW não facilita as coisas, descartando soluções como giroscópios devido ao peso e à complexidade, optando por algo mais mecânico.

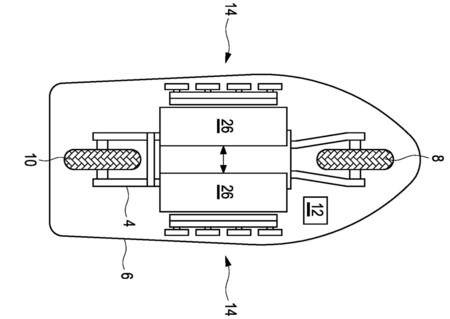
O que não é tão lógico é a forma como resolvem o problema. Enquanto outros sistemas utilizam duas pequenas rodas laterais retráteis, a BMW decide ir muito além: propõe oito rodas auxiliares, dispostas em duas filas de quatro.

Imagens | BMW, The Motorcycle Safety Exchange

Oito rodas, e a lógica por trás disso não é absurda: em vez de depender de dois pontos de apoio, este sistema distribui a área de contato, de modo que, mesmo que uma ou duas rodas estejam fora do chão ou passem por uma lombada, as demais mantêm a estabilidade. Além disso, ao não precisar que as rodas fiquem tão distantes umas das outras, permite uma distância entre eixos menor, uma vantagem fundamental.

Eis a parte realista: colocar isso em produção é complicado, não porque não funcione, mas porque esse tipo de veículo tenta conquistar um nicho de mercado há décadas sem sucesso.

No entanto, o contexto está mudando. Com a eletrificação, a necessidade de eficiência e as cidades cada vez mais congestionadas, talvez esse tipo de solução faça mais sentido do que nunca… e não é que a BMW tenha perdido o juízo, mas sim que não está jogando o mesmo jogo que todo mundo.

Imagens | BMW, The Motorcycle Safety Exchange

Inicio