A Porsche está considerando uma ideia inusitada para tentar salvar a caixa de câmbio manual

  • Quem prefere câmbio manual e direção esportiva provavelmente nunca concordará com os entusiastas da transmissão automática, que defendem uma condução suave no trânsito pesado da cidade;

  • Será que a Porsche está prestes a reconciliar esses pontos de vista opostos?

  • No verão de 2024, a marca alemã registrou uma patente, que só foi publicada no início deste mês, para uma caixa de câmbio que combina o melhor dos dois mundos

A Porsche apresentou um pedido de patente no final de agosto de 2024 para uma caixa de câmbio que é simultaneamente automática e manual. Em resumo, o melhor dos dois mundos. © Porsche
Sem comentários Facebook Twitter Flipboard E-mail
fabricio-mainenti

Fabrício Mainenti

Redator

Embora seja praticamente certo que o destino da caixa de câmbio manual esteja selado para a maioria dos carros – essa transmissão antiquada desaparecerá – algumas marcas resistem. Para carros esportivos excepcionais e veículos de alto desempenho, a capacidade de domar a mecânica e controlar perfeitamente as rotações continua sendo um desejo para alguns clientes.

Em 2013, a Porsche tomou a controversa decisão de abandonar a caixa de câmbio manual na geração 991 do 911 GT3, implementando em seu lugar a transmissão de dupla embreagem PDK de sete velocidades. Os clientes reclamaram. A Porsche foi, portanto, forçada a voltar atrás e oferecer novamente a caixa de câmbio manual em diversas variantes do 991 reestilizado a partir de 2016.

Enquanto isso, a eletrificação generalizada do mercado, de veículos híbridos a veículos totalmente elétricos, está de fato tornando a caixa de câmbio manual obsoleta.

Porsche com patente para respaldar

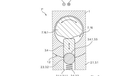
Diagrama técnico da patente registrada pela marca Porsche. © OMPI Alemanha Diagrama técnico da patente registrada pela marca Porsche. © OMPI Alemanha

Em 30 de agosto de 2024, a Porsche registrou uma patente de propriedade industrial – que só foi tornada pública em 5 de março de 2026 – para uma caixa de câmbio manual com o clássico padrão de trocas em H, que também inclui um modo de condução totalmente automático. A ideia é ter o melhor dos dois mundos no mesmo veículo e poder alternar entre eles dependendo das condições do trânsito ou do humor do motorista.

Na verdade, este projeto não é totalmente novo, já que a fabricante sueca de hipercarros Koenigsegg já oferece essa tecnologia em seus supercarros CC850 e Chimera. O primeiro, com produção limitada a 70 unidades, chegou em 2022. O segundo é um modelo único, apresentado no verão de 2024.

O Koenigsegg CC850, do qual foram produzidas 70 unidades, tinha um preço unitário de € 3,5 milhões. © Koenigsegg

São modelos extremamente raros, com potência bem acima de 1.000 cavalos sem o auxílio de assistência elétrica, e preços de venda que chegam a vários milhões de euros, permitindo que a fabricante recupere totalmente seus investimentos em pesquisa e desenvolvimento para uma transmissão tão sofisticada. Essa maravilha tecnológica aumenta ainda mais o apelo do atípico hipercarro sueco. 

Em detalhes, a caixa de câmbio, projetada internamente pela Koenigsegg, oferece modos manual e automático e conta com nada menos que seis embreagens individuais e três eixos, além de um avançado sistema de controle eletrônico. Um arsenal impensável em um Porsche 911 "simples", que custa 25 vezes menos! E quanto ao Boxster, ainda mais acessível?

Uma verdadeira demonstração de força dos engenheiros da Porsche

A alavanca de câmbio do Koenigsegg CC850, com as 6 marchas manuais à esquerda e o controle linear de marcha à ré (R-N-D) à direita. © Koenigsegg A alavanca de câmbio do Koenigsegg CC850, com as 6 marchas manuais à esquerda e o controle linear de marcha à ré (R-N-D) à direita. © Koenigsegg

A Porsche obviamente não tem a mesma margem de manobra que a Koenigsegg. A empresa de Stuttgart terá que ser capaz de oferecer essa tecnologia a um preço justo, especialmente porque suas transmissões atuais, sejam manuais ou PDK, são de alta qualidade e confiáveis. Como convencer os clientes a adotar uma solução completamente nova que, além disso, não necessariamente agradará a todos?

Entretanto, a patente registrada pela Porsche descreve, em vez de um seletor manual clássico em formato de "H" duplo com as marchas de 1 a 6, ré e a posição D (Drive) para a transmissão automática, duas zonas distintas no seletor de marchas.

A primeira zona inclui as posições Drive (D), Ré (R) e Neutro (N), e a outra é a zona tradicional com as marchas numeradas. De acordo com a documentação que acompanha a patente:

"No modo automático, as relações de marcha (D, N, R, ...) podem ser selecionadas movendo a alavanca seletora para frente ou para trás".

No modo manual, as relações de marcha podem ser selecionadas diretamente – como em uma caixa de câmbio manual convencional – movendo a alavanca seletora para frente ou para trás e, simultaneamente, para a esquerda ou para a direita.

Paradoxalmente, o mercado norte-americano é o mais entusiasta em relação às caixas de câmbio manuais da Porsche, enquanto, de forma geral, os clientes do outro lado do Atlântico já migraram há muito tempo para as transmissões automáticas. Com essa patente, a Porsche poderia conciliar os dois mercados. 

Mas atenção: um pedido de patente, antes de ser uma declaração de intenção de produzir uma tecnologia em massa, continua sendo uma forma de proteger a propriedade intelectual e reivindicar a titularidade.

Imagem de capa | © Porsche

Inicio